Appearance
云当家操作指南(连锁版)
| 修订人 | 修订时间 |
|---|---|
| 杨海楠 | 2023.11.1 |
一、概述
连锁总部相当于一个虚拟店铺,除了没有销售收银、线上商城功能外,其他资料管理、库存管理等功能与零售版单店完全一致,具体操作参见【云当家零售版操作指南】;
连锁总部通过管控规则对门店进行具体管理,可针对不同门店设置不同管控方式,因此一个总部下支持添加多种不同类型的门店;
连锁总部使用的产品端包括【PC管理端】、【手机APP端】;
- PC管理端:https://yxd.lakala.com/b2c-merchant-admin/#/login;
- 手机APP:手机应用商店搜索“拉卡拉云当家”;

二、门店管理
2.1 管控规则
连锁总部需要先创建门店的管控规则,支持创建多个不同规则,为不同门店分配不同规则;
具体包含以下几个控制项:
商品:
- 是否允许门店自己创建商品,不允许时门店的商品资料只能由总部下发
- 是否允许门店改价,该条仅针对由总部同步到门店的商品,不允许改价时,只能按照总部设置的价格销售;
会员:门店间是否共享会员
- 共享会员:连锁总部内,所有配置共享会员的门店间共享所有会员资料、会员权益(储值、积分、等级权益等)
- 不共享会员:门店独立自己管理自己的会员资料、会员权益
【注】如果门店在加入总部前已经有了会员,加入总部开启会员共享后,会按照手机号对会员资料和储值积分进行叠加合并;
供应链:
- 是否允许外部采购:不允许时,门店无法向外部供应商采购,只能从总部要货;
- 是否允许调拨:允许调拨的门店之间可以发起连锁调拨;
分账管理:针对总部按销售额比例向门店收取抽成的场景,仅作为记账统计,并不涉及真实资金的分账;
支付方式:关闭后,门店只能使用总部同步的支付方式收款;

2.2 添加门店
总部端“新增绑定”添加门店,绑定时需要填写门店的编号和密钥,并选择一个管控规则;

在门店的PC管理端查看门店编号和密钥:

2.3 同步资料
2.3.1 同步商品资料
批量选择商品,选择同步门店,注意预包装商品、切割商品、混合商品不能同步到门店;

2.3.2 同步支付方式
如果总部需要统一设置支付方式,则可以在总部端新增支付方式后,同步到门店,门店端自动增加该支付方式;

三、门店配货
连锁门店要货流程如下:
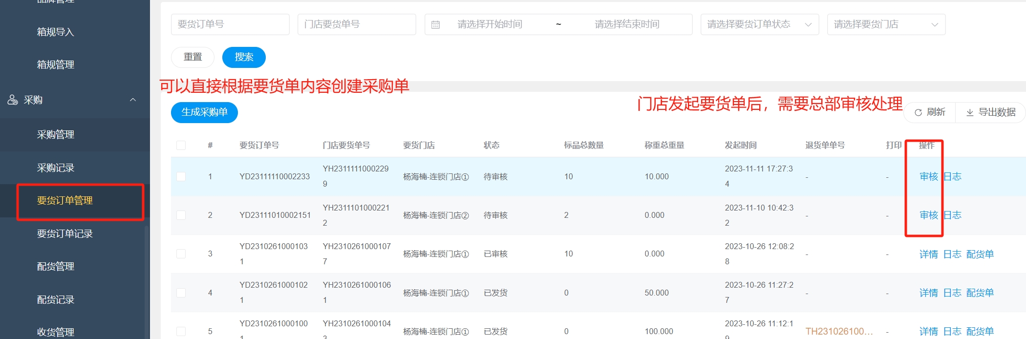
门店发起要货→总部审核→总部创建配货单→总部点货出库→门店收货入库;
3.1 门店要货
门店要货只能在【手机APP端】操作,要货商品只能选择总部同步下来的商品;
要货单保存后,要货单到总部端等待总部审核处理;



3.2 总部配货
- 总部在【PC管理端】审核要货单(如不需要审核,可在系统设置中关闭审核环节);

- 审核通过的要货单,总部可以创建配货单,针对一个采购订单,可以同时创建多张配货单;

点货:生成配货单后,仓库作业人员核对配货单,点货并完成出库:

总部也可以在【APP端】处理门店要货单:

3.3 门店收货
总部发货出库后,门店在APP上可查看到货单,点击到货单填写实收数量完成入库,一个到货单只能收货入库一次;

四、连锁调拨
连锁门店调拨流程为:
调入门店发起调拨请求→总部审核(可关闭)→
- 调入门店在APP发起调拨需求,选择调出门店、选择商品创建调拨单;

总部在【PC管理端】或【APP端】对调拨单进行审核,可在系统设置中关闭审核流程;

调出门店在APP端接受调拨请求后,填写实际调出数量完成出库:

调入门店收货入库
调出门店针对已发货的调拨单,可以进行收货入库操作;

五、数据统计
- 数据大屏:总部通过大屏可以看到所有门店整体的销售经营的关键指标;

总部可以查看到各门店的库存、以及销售数据:


